
JSD-150型低頻復合橡膠減振器介紹:
JSD型低頻復合橡膠減振器是由金屬和橡膠復合制成,表面全部包復橡膠,可防止金屬銹蝕。適用于水泵,壓縮機,通風機,冷凍機、空壓機等動力機械的基礎減振降噪,尤其適用于立式水泵的基礎減振。等頻性好,當大于額定載荷后,減振器的固有頻率保持不變。阻尼比大,對其振峰的抑制能力強。結構簡單、安裝方便,可直接安裝在機座下,同時也可用地基螺栓固定安裝,使用安全可靠。載荷范圍30kg-3000kg。耐油、海水、鹽、霧和日照等,適用于-25℃~+80℃溫度。
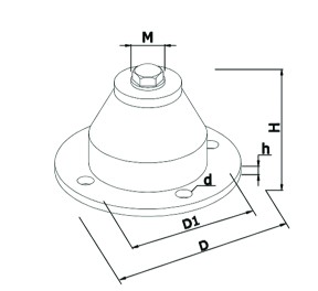
JSD型低頻復合橡膠減振器圖紙:


橡膠減震器之所以如此被廣泛的運用,是因為它有效的利用了橡膠的如下諸多特性:
(1)橡膠具有高彈性和黏彈性;
(2)與鋼鐵材質相比,橡膠的彈性變形很大,彈性模量很小;
(3)橡膠的沖擊剛度大于動剛度,動剛度又大于靜剛度,有利于減少沖擊變形和動態變形;
(4)應力-應變曲線為橢圓形滯后線,其面積等于各個震動周期轉變為熱量的振能(阻尼),可通過配方設計調整之;
(5)橡膠為不可壓縮性材料(泊松比為0.5);
(6)橡膠形狀可以自由選擇,硬度可以通過配方設計加以調整,可以滿足不同方向的剛度和強度的要求。
載荷范圍
載荷范圍:245N-35040N;位移范圍有二種:0-75mm、0-150mm;
結構
結構采用外挑管,消除音隙非常方便,且有螺紋防松設置;
連接管
長短連接管采用左右螺紋,安裝距離詷量為40mm,且可現場調整,并設有螺紋防松設置;
間隙小
兩端接口采用鉸接,有效地消除了雙向使用時的間隙;
載荷刻度
上刻度板上增設了載荷指示刻度,使調節載荷、工作載荷一目了然。
為了減少前面提到的路面對車輛的振動和沖擊,需要彈簧把這些吸收振動和沖擊的能量,彈簧在懸架中就是一個儲能元件,但是暫時儲存起來還不行,還要把這些對車輛乘坐舒適性和操縱穩定性不利的能量消耗掉,這是就輪到減振器登場了,液壓式減振器的工作原理是當車架與車橋作往復相對運動,而活塞在缸筒內往復運動時,減振器殼體內的油液便反復地從一個內腔通過一些窄小的孔隙流入另一內腔,此時,孔壁與油液間的摩擦及液體分子內摩擦便形成對振動的阻尼力,使車身和車架的振動能量轉化為熱能,而被油液和減振器殼體所吸收,然后散到大氣中。簡單的說就是,將動能轉化為熱能。如果減振器在試驗臺連續運轉幾分鐘,減振器貯油缸外壁會變得非常熱,甚至燙手。
松江波紋減震器需換一個行嗎?美標限位伸縮器是采用ANSI/ASMEB16.5法蘭標準加工制作的限位伸縮接頭或者傳力接頭產品,適用于輸送海水、淡水、冷熱水、飲用水、生活污水、原油、燃油…
開車如何保護kw電感減震器質量好嗎?空氣彈簧減震器承受載荷變化,系統固有頻率大致不變,因此具有變剛度特性,所以在隔振裝置設計時不必過重考慮設備重心承載能力大,自身重量…
豐田佳美用什么貝斯特減震器安裝說明書減震器通過空氣實驗后,應進行氣密性實驗,實驗介質為枯燥、潔凈的空氣,也可根據用戶需求運用氮氣或其它惰性氣體,測驗設備為電動泵(或…

BE-120柴油機橡膠減震器 BE120 橡膠隔振器 該產品簡單實用的 橡膠減震器 具有良好低頻減震效果..

GJ型社會在發展,環境在提高,對環境保護要求越來越高,由動力設備的管道引起的振動和噪聲..

JBQ-900-A干式變壓器空氣減震器 Dry type transformer air shock absorber 上海 松夏減震器 有限公司官方網..

產品介紹: JB型 彈簧減震器 本體材質分為.殊強化尼龍及球狀鑄鐵。.殊強化尼龍材質為尼龍加..
?奧迪用什么垂直減震器總成怎么樣?市面上一般有空氣彈簧減震器也叫(氣墊減震器)、彈簧減震器、橡膠減震器三大類!三大類減震器的性能對比:1、就成...
?橡膠減震器更換要換一對嗎?1、周邊無明顯震動;2、周邊沒有磁場影響;3、安裝場所路面整平,自然通風優良;4、禁止腐蝕化學物質試件的實驗或存儲;5、禁止...
?設備彈簧減震器具備頻率低、減震大一點的雙重優勢,及其鋼彈簧原先的震幅。在文化休閑場所的應用:轉速高的低音炮音箱音箱,音樂的穿透性特別強。傳...
? 1.彈簧減震器外殼 殼體是減振元件的支撐。 長期的負載和安全性非常重要。 它對強度有很高的要求。 目前,市場上有兩種會誤導客戶的趨勢: 1.為...
?離心式水泵彈簧減震器的操作步驟說明如下:彈簧采用純煅造方法制成,具有很好的彈性,可以用于小水泵的密封性和減震。安裝時須注意,不能出現偏位...
?在選擇彈簧減震器時,應該根據機器設備的凈重量來選取合適型號和規格。一般而言,彈簧減震器應該承受高于20毫米的機械設備表面變小量,但不得超過...
?廈門威朗15s減震器平面軸承怎么換?減振器的檢測辦法有哪些?減振器減振性能的好壞,要經過減振實驗來審定。減振實驗通常只在新設計試制減振器時才停...
?捷達后減震器拆裝方向不靈了咋辦?大多數波紋減震器的工作溫度在400℃以下,碳素結構鋼、低合金結構鋼和奧氏體等材料能夠勝任。減震器的使用壽命...